过滤器系列
Y型过滤器
|产品介绍
Y型过滤器是输送介质的管道系统不可缺少的一种设备。Y型过滤器通常安装在减压阀、泄压阀、定水位阀等水力控制阀或其它设备的进口端,用来清除介质中颗粒性杂质,免受因管道内杂质、铁锈、焊屑等带来的堵塞和损坏,从而避免了维修费用和生产损失,保护阀门等设备的正常使用。
|产品结构


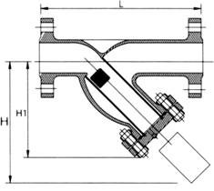
螺纹连接Y型过滤器 法兰连接Y型过滤器
|产品技术参数
我公司生产的Y型过滤器过滤网采用不锈钢双层网结构,具有坚固耐用,结构先进、流阻小、清洗方便等特点。Y型过滤器可用于水、蒸气、油品、硝酸、尿素、氧化性介质等多种介质。当需要清洗时,只要将可拆卸的滤网取出,清洗后重新装入即可,因此Y型过滤器使用维护极为方便。Y型过滤器参数材料表:
| 壳体材质 | PVC PP 碳钢 黄铜 不锈钢 衬里 |
| 滤框滤网材质 | 不锈钢 |
| 密封件材质 | 耐油石棉橡胶、金属缠绕垫、聚四氟乙烯 |
| 工作温度(℃) | -80~450 |
| 连接方式 | 法兰连接、对焊连接、螺纹连接 |
| 公称压力(MPa) | 0.6~16.0 (150Lb~900Lb) |
| 过滤精度(目/in) | 5~800 |
Y型过滤器表格计算单位:(mm)
| DN | 25 | 32 | 40 | 50 | 80 | 100 | 150 | 200 | 250 | 300 |
| SIZE | 1” | 1-1/4” | 1-1/2” | 2” | 3” | 4” | 6” | 8” | 10 | 12 |
| L | 160 | 180 | 200 | 220 | 280 | 320 | 380 | 495 | 595 | 640 |
| H | 80 | 90 | 100 | 135 | 195 | 230 | 335 | 420 | 500 | 580 |
| H1 | 160 | 180 | 240 | 250 | 390 | 450 | 580 | 690 | 800 | 950 |
|安装维护
|订货须知
1、我厂承接各种非标尺寸Y型过滤器;2、订货时请注明口径、材质、压力、过滤精度及数量等。








产品中心 
