过滤器系列
空气过滤器
|产品介绍
空气过滤器广泛用于管道空气过滤,化工厂尾气过滤,等等。
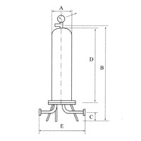
|产品结构
|产品技术参数
空气过滤器参数材料表:| 壳体材质 | 不锈钢 |
| 滤芯 | 不锈钢、折叠、烧结 |
| 滤框滤网材质 | 不锈钢 |
| 密封件材质 | 丁晴橡胶、聚四氟乙烯 |
| 工作温度(℃) | -80~450 |
| 连接方式 | 法兰连接、对焊连接、螺纹连接 |
| 公称压力(MPa) | 0.6~5.0(150Lb~600Lb) |
空气过滤器表格计算单位:(mm)
| DN | 滤芯根数 | 滤芯长度 | A | B | C | D | E |
| 25 | 1 | 5" | 100 | / | 110 | 300 | 210 |
| 10" | 100 | / | 110 | 358 | 210 | ||
| 25 | 3 | 10" | 180 | 536 | 110 | 480 | 320 |
| 20" | 180 | 1016 | 110 | 838 | 320 |
|安装维护
|订货须知
1、订货时请注明尺寸、操作压力、滤芯材质、过滤介质及过滤精度。2、当需要其他标准法兰、材质或操作压力时请在订货时注明。








产品中心 
